文章详情

富拓外汇平台跟单网市场资讯:永宁汇发村镇银行因案外人执行异议之诉被告,7月9日在宁县人民法院审理

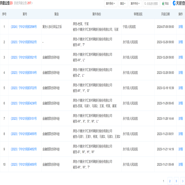
  据天眼查法律诉讼信息显示,宁夏永宁汇发村镇银行股份有限公司(以下简称“永宁汇发村镇银行”)因案外人执行异议之诉被告,于2024年7月9日在宁县人民法院开庭审理【案号:(2024)宁0121民初2596号】。

  公开资料显示,永宁汇发村镇银行成立于2017年,位于银川市,是一家以从事货币金融服务为主的企业。企业注册资本3000万人民币,实缴资本,法定代表人为李烨。

  风险方面共发现企业有裁判文书26条;开庭公告23条。

延伸阅读